Схема калибровки

Поверка и калибровка средств измерений метрология. Блок схема поверки средств измерений. Схема калибровки. Схема калибровки. Российская система калибровки метрология.
Поверка и калибровка средств измерений метрология. Блок схема поверки средств измерений. Схема калибровки. Схема калибровки. Российская система калибровки метрология.
Блок схема поверки средств измерений. Схема калибровки средств измерений. Карта процесса калибровки. Схема калибровки. Схема калибровки прокатных валков квадрат 40.
Блок схема поверки средств измерений. Схема калибровки средств измерений. Карта процесса калибровки. Схема калибровки. Схема калибровки прокатных валков квадрат 40.
Калибровка прокатных валков. Схема калибровки прокатных валков. Блок схема поверки си. Схема калибровки. Схема калибровки измерительных каналов.
Калибровка прокатных валков. Схема калибровки прокатных валков. Блок схема поверки си. Схема калибровки. Схема калибровки измерительных каналов.
Схема калибровки. Схема российской службы калибровки. Схема калибровки. Калибровка прокатных валков инатович. Схема калибровки.
Схема калибровки. Схема российской службы калибровки. Схема калибровки. Калибровка прокатных валков инатович. Схема калибровки.
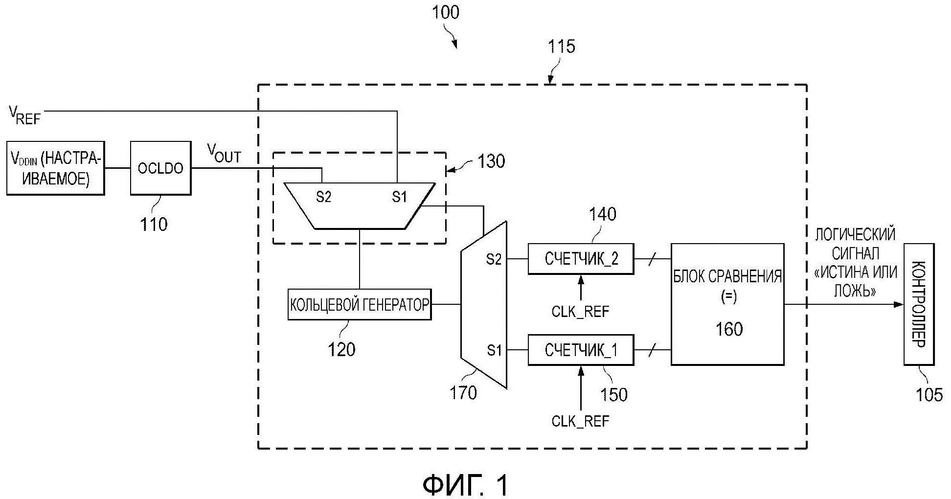
Преобразователь многоканальный аналого-цифровой пмац-3. Схема калибры прокатного валка. Схема калибровки. Схема калибровки. Modbus ацп (аналого-цифровой преобразователь).
Преобразователь многоканальный аналого-цифровой пмац-3. Схема калибры прокатного валка. Схема калибровки. Схема калибровки. Modbus ацп (аналого-цифровой преобразователь).
Схема калибровки. Схема калибровки прокатных валков. Калибровка при прокатке. Схема калибровки. Схема калибровки.
Схема калибровки. Схема калибровки прокатных валков. Калибровка при прокатке. Схема калибровки. Схема калибровки.
Структура и функции российской системы калибровки (рск). Структура рск. Схема поверки средств измерений. Блок схема калибровки весов. Калибровка на чертеже.
Структура и функции российской системы калибровки (рск). Структура рск. Схема поверки средств измерений. Блок схема калибровки весов. Калибровка на чертеже.
Аналого цифровые преобразователи кардиограф. Схема калибровки. Схема калибровки при прокатке. Российская система поверки(калибровки) средств измерений. Калибратор схема.
Аналого цифровые преобразователи кардиограф. Схема калибровки. Схема калибровки при прокатке. Российская система поверки(калибровки) средств измерений. Калибратор схема.
Калибровка валков сортовых станов. Типы калибров прокатных валков. Схема калибровки прокатных валков стан 700 оэмк. Калибровка металла процесс схема. Схема калибровки измерительных приборов.
Калибровка валков сортовых станов. Типы калибров прокатных валков. Схема калибровки прокатных валков стан 700 оэмк. Калибровка металла процесс схема. Схема калибровки измерительных приборов.
Аттестация испытательного оборудования блок схема. Схема калибровки. Схема российской системы калибровки. Схема калибровки. Аналого-цифровой преобразователь патент.
Аттестация испытательного оборудования блок схема. Схема калибровки. Схема российской системы калибровки. Схема калибровки. Аналого-цифровой преобразователь патент.
Схема калибровки. Схема калибровки. Российская система калибровки структурная схема. Схема калибровки. Схема калибровки при прокатке.
Схема калибровки. Схема калибровки. Российская система калибровки структурная схема. Схема калибровки. Схема калибровки при прокатке.
Российская система калибровки метрология. Калибровочный аппарат схема. Схема калибровки. Полиорт газоанализатор схема подключения. Схема калибровки прокатных валков.
Российская система калибровки метрология. Калибровочный аппарат схема. Схема калибровки. Полиорт газоанализатор схема подключения. Схема калибровки прокатных валков.
Схема российской системы калибровки. Российская система поверки средств измерений. Схема поверки регулятора. Схема российской службы калибровки. Схема калибровки средств измерений.
Схема российской системы калибровки. Российская система поверки средств измерений. Схема поверки регулятора. Схема российской службы калибровки. Схема калибровки средств измерений.
Периодичность калибровки средств измерений устанавливается. Схема калибровки средств измерений. Схема калибровки. Структура российской системы калибровки (рск). Структура российской системы калибровки (рск).
Периодичность калибровки средств измерений устанавливается. Схема калибровки средств измерений. Схема калибровки. Структура российской системы калибровки (рск). Структура российской системы калибровки (рск).
Система калибровки стана. Калибровка прокатных валков инатович. Схема поверки средств измерений. Полиорт газоанализатор схема подключения. Схема калибровки.
Система калибровки стана. Калибровка прокатных валков инатович. Схема поверки средств измерений. Полиорт газоанализатор схема подключения. Схема калибровки.
Калибровка прокатных валков инатович. Схема калибровки. Карта процесса калибровки. Схема калибровки. Схема калибровки.
Калибровка прокатных валков инатович. Схема калибровки. Карта процесса калибровки. Схема калибровки. Схема калибровки.
Схема калибровки. Схема калибровки. Схема калибровки. Схема поверки регулятора. Структура и функции российской системы калибровки (рск).
Схема калибровки. Схема калибровки. Схема калибровки. Схема поверки регулятора. Структура и функции российской системы калибровки (рск).
Калибровка валков сортовых станов. Структура рск. Карта процесса калибровки. Преобразователь многоканальный аналого-цифровой пмац-3. Поверка и калибровка средств измерений метрология.
Калибровка валков сортовых станов. Структура рск. Карта процесса калибровки. Преобразователь многоканальный аналого-цифровой пмац-3. Поверка и калибровка средств измерений метрология.
Схема калибровки прокатных валков. Российская система поверки(калибровки) средств измерений. Схема калибровки. Схема калибровки. Блок схема поверки си.
Схема калибровки прокатных валков. Российская система поверки(калибровки) средств измерений. Схема калибровки. Схема калибровки. Блок схема поверки си.
Схема поверки регулятора. Аналого цифровые преобразователи кардиограф. Схема калибровки. Периодичность калибровки средств измерений устанавливается. Схема калибровки.
Схема поверки регулятора. Аналого цифровые преобразователи кардиограф. Схема калибровки. Периодичность калибровки средств измерений устанавливается. Схема калибровки.